Russian Frisco - Русский Сан Франциско
Найди свое счастье, служба знакомств на RussianAmerica.COMРусские концерты на Американской сцене
. Russian America Top
Russian Frisco News. Новости на Русском Сан ФранцискоNews Russian Frisco - Events. События и Афиша на Русском Сан ФранцискоEvents Russian Frisco Yellow Pages. Жёлтые страницы Русского Сан ФранцискоYellow Pages Russian Frisco Classfieds. Объявления на Русском Сан ФранцискоClassifieds Russian Frisco Dating. Знакомства на Русском Сан ФранцискоDating Russian Frisco Forum. Дискуссионный клуб Русского Сан ФранцискоForum Russian Frisco Chat. Чат на Русском Сан ФранцискоChat
 News Central
В мире
  Политика
  Разное
Бизнес
  Деньги
Общество
  Мода
  Религия
  Светская жизнь
  Шоу Бизнес
  Пикантные новости
  Животные
  Криминал
Спорт
Искусство
  Кино
  Музыка
Авто
Hi-Tech
  Интернет
  Hardware
  SoftNews
Здоровье
Путешествия
Вокруг света
USA
Россия
  
Ресурсы
  Самые последние
  Самые читаемые
Архив
 Другие ресурсы
Все Ресурсы

Рассылки
Газеты
Журналы
ТВ - Online
Радио

Юмор
  Анекдоты
  Игры
  Этикетки
  
Открытки
  Поздравь друга
  
Программа TV
Кино
  Новости кино
  Кинообзоры
  
Музыка
  Радио в internet
  Russian Top
  
Спорт
Web Обзоры Exler.ru
  
Читальный зал
ЭКСпромт - статьи для чайников
Компьютерные игры
Finance News
Автообзоры
Russian America Journal Digest
 Смотрите также
Yellow Pages
Объявления
Чат
Форум
  последнее

Читальный зал
  Стихи
  Проза
  Кулинария

Едем в Америку!
  Иммиграция
  Визы
  Советы

Знакомства
Фотоальбомы
Top Rating
  America TOP
  
Последние новости со всего мира.
 
NEWS CENTRAL >> Hi-Tech

Hi-Tech

Intel обезопасит геймеров от столкновения с мебелью
10:46PM Wednesday, Dec 26, 2012
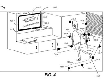
Иллюстрация из патентной заявки Intel
Компания Intel разработала "систему безопасности" для игровых приставок с контроллерами движения, передает Forbes. Задача системы - "минимизировать вероятность столкновения пользователя консоли с окружающими объектами во время игры", передает Forbes.

В систему входят два набора датчиков и процессоры. Первый набор датчиков следит за перемещениями игрока, а второй - за объектами вокруг игрока. Процессоры обрабатывают показания датчиков.

Если система определила, что игрок находится в опасной близости от того или иного предмета - например, стола или шкафа, - она издает звуковой сигнал-предупреждение и остановит игру.

Систему Intel описала в заявке, поданной в Патентное бюро США в марте 2011 года. Патент ( 8333661, "Игровая система со средствами обеспечения безопасности") на разработку компания получила 18 декабря.

Инцидентам, произошедшим с пользователями контроллеров движения во время игры, посвящено множество видеороликов на YouTube. Владельцы Kinect чаще всего сталкиваются с предметами мебели или с другими игроками, а владельцы Wii Remote - кидают пульт в телевизор.

По материалам lenta.ru
« « Вернуться       Далее » »
Другие новости по теме
  • В Италии умерла старейшая обладательница Нобелевской премии
  • Катастофы оказались способны стимулировать религиозность
  • Вырубание лесов уменьшило разнообразие тропических микробов
  • Археологи откопали храм времен Иудейского царства
  • Завершено проектирование нового российского космического корабля
  • Ботаники объяснили появление энергоэффективных растений
  • Графен помог создать гибкие фотоэлементы
  • "Кассини" получил новую фотографию Сатурна
  • Таймырские бактерии оказались способны жить на Марсе
  • Эволюцию человека связали с колебаниями климата
  • Ученые измерили влияние наблюдателей на выборы в Думу
  • Сбой при запуске "Ямал-402" произошел из-за подшипника
  • Физики разработали фотонный квантовый компьютер
  • "Хаббл" снял рекордно тонкую спиральную галактику
  • Физики помогли палеонтологам разглядеть зубы древней ящерицы
  • Крупнейшая строящаяся обсерватория получила суперкомпьютер

    Далее » »   Digest | Архив »    
Смотрите также: Hi-Tech, Интернет, Hardware, SoftNews
 
Читайте также:

На "маках" разрешили запускать 750 тысяч приложений для Android

Мессенджер Samsung превратился в "микросоцсеть"

В России заработает линия для анонимных новогодних поздравлений

Google назвала приложения года для Android

Toshiba наделит мобильники возможностями камеры Lytro


55-дюймовый OLED-телевизор LG оценили в полмиллиона рублей

Apple запатентовала разъем для SIM-карт

ABBYY выпустила для Android "сканер-переводчик"

Телеприставка Apple TV поступила в продажу в России

СМИ рассказали о планшете Nokia с обложкой-клавиатурой

Canon сняла с производства EOS 5D Mark II

Huawei выпустит шестидюймовый смартфон

Блогеры узнали сроки выхода iPad 5

В Chrome запретят "незваные" расширения

Facebook позволит обмениваться "сгорающими" сообщениями




News Central Home | News Central Resources | Portal News Resources | Help | Login
 
Russian Boston Russian LA Holostyak.com Рейтинг@Mail.ru © 2026 RussianAMERICA Holding
All Rights Reserved • Contact